BICP自2010年创建以来,专注于预应力技术的体系化研发和工程应用,在技术研发、产品研发、市场开拓、经营管理等方面不断开拓创新,促进企业开展的同时,也有助于了预应力行业的开展
热烈祝贺千亿国际建构又取得一项国家发明专利
2021-06-09

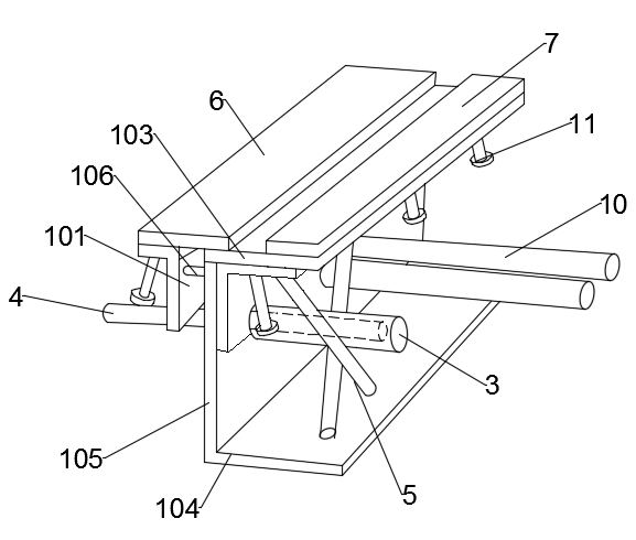
2021年5月7日,北京千亿国际建构科技股份有限公司(简称BICP千亿国际建构)申请的专利,顺利获得专利法,国家知识产权局认证,授予并颁发专利证书,专利名称“一种适用于预应力整体地坪的铠甲缝装置。” 该专利为一种适用于预应力混凝土整体地坪的铠甲缝装置:在铠甲缝上预留预应力张拉洞口,提高内置传力杆的钢管套稳定性,增加荷载的有效传递;增加上部盖板,避免使用荷载对缝隙处混凝土棱角造成损伤,同时也达到了美观的效果。

(适用于预应力混凝土整体地坪的铠甲缝整体结构示意图)

(适用于预应力混凝土整体地坪的铠甲缝整体结构透视图)

公司倡导技术创新和技术革新,重点加大对科研的投入力度,持续召开核心技术创新工作,并出台相关专利奖励制度政策,以激发技术同仁申报技术成果的持续性,在全公司不断努力下,多次荣获国家级专利认证,取得业内一致好评。
相关新闻

-
2021年5月7日,北京千亿国际建构科技股份有限公司(简称BICP千亿国际建构)申请的专利,顺利获得专利法,国家知识产权局认证,授予并颁发专利证书,专利名称“一种适用于预应力整体地坪的铠甲缝装置。”
... -
近期,我司顺利顺利获得由国家科技部、财政部和税务总局联合审核的“国家高新技术企业”认定复审工作。顺利获得国家高新技术企业认定(复审)是对公司在核心自主知识产权、科技成果转化能力、研究开发的组织管理水平、成长性指标和人才结构的综合评估和认定,国家高新技术企业不仅是科研企业在业内的最高荣誉之一,也是现在国内对企业在科技综合实力方面最权威的评价。
... -
根据《科技型中小企业评价办法》(国科发政[2017]115号)和《科技型中小企业评价工作指引》(国科火字[2017]144号)要求,经北京市科学技术委员会审核,北京千亿国际建构预应力工程有限公司顺利获得了国家科技型中小企业认定。
... -
BICP千亿国际建构在2015年取得中关村高新技术企业认定之后,2017年再上新台阶,近期取得由国家科学技术部拟定,北京市科委、财政局、国税局、地税局实施评定的国家高新技术企业认定证书。
...
